Merke

Tyrolit diamant avretter T-form 40x10x250mm

Varenummer:
 50 HAG D 35 ST

 

Høykvalitets diamantavretter for kant- eller sideflatebehandling, avhengig av design. Egnet for benkslipeskiver i presisjonsområdet.
Denne diamantavretteren gir deg et høykvalitets avretterverktøy for benkslipeskiver i presisjonsmaskineringssektoren. Avhengig av design kan de brukes til kant- eller sideflatebearbeiding. Diamantavretterne har derfor enten et diamantsegment loddet på overflaten eller i lengderetningen.

7 849,-
  • pr. stk.
  • Bestillingsvare

Beregn frakt

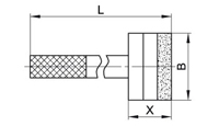
Enhet Verdi
Indikasjon BDxBxD/LY
Dimensjoner (mm) 40x10x250
Spesifikasjon D 35 ST
Form 50HAG
Korn Diamant (D)