Merke

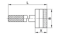
Tyrolit diamant avretter T-form 20x8x185mm

Varenummer:
 50 HAG D 30 ST

diamant manuell avretter 20x8x185 mm benksliper D 30 ST

 

Høykvalitets diamantavretter for kant- eller sideflatebehandling, avhengig av design. Egnet for benkslipeskiver i presisjonsområdet.
Denne diamantavretteren gir deg et høykvalitets avretterverktøy for benkslipeskiver i presisjonsmaskineringssektoren. Avhengig av design kan de brukes til kant- eller sideflatebearbeiding. Diamantavretterne har derfor enten et diamantsegment loddet på overflaten eller i lengderetningen.

3 356,-
  • pr. stk.
  • Bestillingsvare

Beregn frakt

Enhet Verdi
Indikasjon BDxBxD/LY
Dimensjoner (mm) 20x8x185
Spesifikasjon D 30 ST
Form 50HAG
Korn Diamant (D)