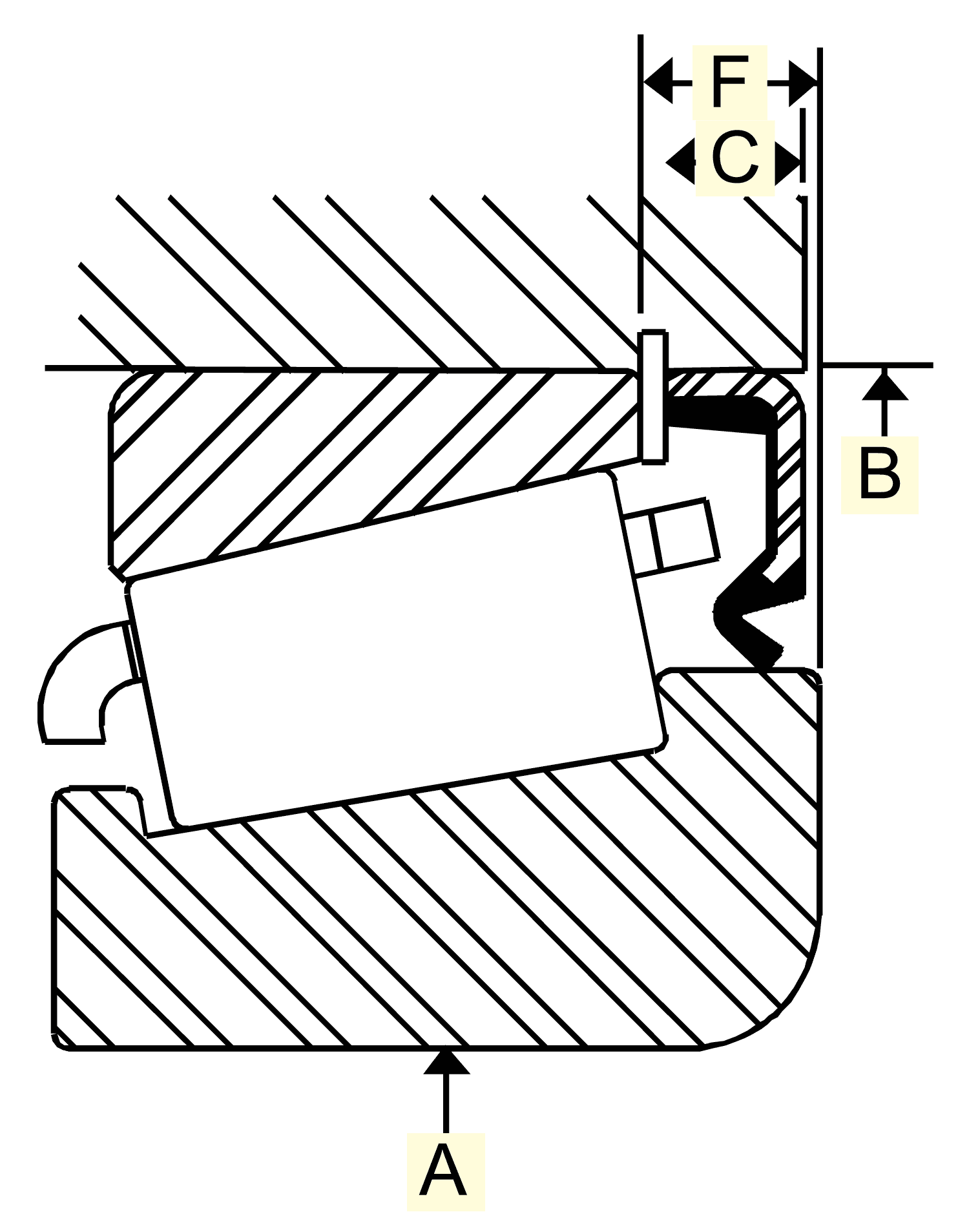
Clark seal CS-8000 serie

CS-8000  
The CS style is the same as the CE-8000 except that it has an exposed metal exterior and metal O.D. for a heavy press fit and easy, accurate installation.

CE-8000  
The 8000 series seals are narrower than the 7000 series seals. They are used in applications where a snap ring is required to positively retain the bearing cup in the housing.  This series is used in crown and traveling blocks, and in mine-car wheels.  Clark  recommends all seals installed in damaged housings be bonded into the housing with an industrial adhesive.

Swipe

Produktnr. Timken® Bearing Number Cone Timken® Bearing Number Cup Cone Bore - A Cup O.D. - B Seal width - C Beholdning Pris per stk Hent alle Antall Kjøp
CS 8024 L357049NW L357010CD 12.000 15.500 -
Hent pris og lager